- 成都優普環保設備工程有限公司
- 電話:183-2853-8768
- 郵箱:1728748202@qq.com
- 網址:www.ispop.com.cn
- 地址:四川省成都市郫都區成都現代工業港北片區港泰大道38號
當前位置:首頁>>旋流沉砂池
UP-XLCS旋流沉砂池

結構:
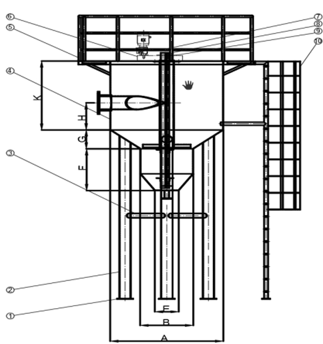
UP-XLCS旋流沉砂池除砂機由葉輪、傳動軸、電機、減速器和吸砂系統組成。由于葉輪槳板向上傾斜,旋轉 時使池中污水作螺旋運動,加上因污水切向進入,產生與葉輪旋向一致的旋流,池中的污水形成渦螺流態。在 適當的葉槳傾角和線速度條件下,污水中的砂粒將受到沖刷并仍保持好的沉降效果,而原來附著在砂粒上的有 機物以及重度小的物質將隨污水一同流出旋流池。另外,由于葉輪旋轉,減少了旋流池因進水量變化導致流態 變化的敏感程度,保證了沉砂池穩定、出砂的有機成分含量低等特點。用途:
旋流沉砂池除砂機用于旋流沉砂池,是沉砂、洗砂效果好的不二設備。
XLCS旋流沉砂池主要技術參數:
|
型號 |
流量m3/h |
A |
B |
C |
D |
E |
F |
G |
H |
J |
K |
L |
|
UP-XLCS-80 |
80 |
1.2 |
0.6 |
0.2 |
0.35 |
0.3 |
0.8 |
0.3 |
0.3 |
0.2 |
0.8 |
0.9 |
|
UP-XLCS-140 |
140 |
1.44 |
0.8 |
0.25 |
0.45 |
0.3 |
1 |
0.3 |
0.3 |
0.2 |
0.8 |
1 |
|
UP-XLCS-180 |
180 |
1.83 |
1 |
0.305 |
0.61 |
0.3 |
1.4 |
0.3 |
0.3 |
0.2 |
0.8 |
1.1 |
|
UP-XLCS-360 |
360 |
2.13 |
1 |
0.38 |
0.76 |
0.3 |
1.4 |
0.3 |
0.3 |
0.3 |
0.8 |
1.1 |
|
UP-XLCS-600 |
600 |
2.43 |
1 |
0.45 |
0.9 |
0.3 |
1.45 |
0.3 |
0.3 |
0.4 |
0.8 |
1.15 |
|
UP-XLCS-1000 |
1000 |
3.05 |
1 |
0.61 |
1.2 |
0.3 |
1.55 |
0.45 |
0.3 |
0.45 |
0.8 |
1.35 |
|
UP-XLCS-1800 |
1800 |
3.65 |
1.5 |
0.75 |
1.5 |
0.4 |
1.7 |
0.6 |
0.51 |
0.58 |
0.8 |
1.45 |
|
UP-XLCS-3000 |
3000 |
4.87 |
1.5 |
1 |
2 |
0.4 |
2.2 |
1 |
0.51 |
0.6 |
0.8 |
1.85 |
|
UP-XLCS-4600 |
4600 |
5.48 |
1.5 |
1.1 |
2.2 |
0.4 |
2.2 |
1 |
0.61 |
0.63 |
0.8 |
1.85 |
|
UP-XLCS-6000 |
6000 |
5.8 |
1.5 |
1.2 |
2.4 |
0.4 |
2.5 |
1.3 |
0.75 |
0.7 |
0.8 |
1.95 |
|
UP-XLCS-7800 |
7800 |
6.1 |
1.5 |
1.2 |
2.4 |
0.4 |
2.5 |
1.3 |
0.89 |
0.75 |
0.8 |
1.95 |
主要技術參數圖:


1、底板;2、鋼管牛腿;3、牛腿加強管;4、沉砂池本體;5、走道平臺及欄桿;6、驅動機構;7、提砂管;8、氣沖管;9、氣提管;10、爬梯




